Autonomy, Decision and Control (ADC)
The Autonomy, Decision and Control (ADC) group at Exeter University has renowned expertise in the development of novel practical control systems with particular interest in their application to aerospace systems. We have participated in wide range of projects ranging from fundamental research through to implementation, sponsored by different funding agencies and industry (EPSRC, EU, ESA and Innovate UK). Areas of particular interest include:
- Fault detection and condition monitoring
- Fault-tolerant control
- Unmaned Air Vehicles
- Sliding Mode Control
- Multi-agent networks
- Tuning and validation of complex control systems
Research areas
A strand of work pioneered by the group has explored the use of sliding mode observers for Fault Detection and Isolation. The novelty of this approach lies in the ability of sliding mode observers to reconstruct un-measurable signals in the process being monitored by appropriate scaling and filtering of the so-called 'equivalent output error injection'. (This represents the average value the nonlinear term in the observer has to take in order to maintain a sliding motion). This is a unique property of sliding mode observers, and emanates from the fact that the introduction of a sliding motion forces the outputs of the observer to exactly track the plant measurements. This estimation approach is quite different from typical residual generation methods for fault detection in which the residual signals are dynamic weightings of the fault signals. Reconstruction approaches attempt to capture both the magnitude and 'shape' of the faults, and as a result both detection and isolation are handled simultaneously to some extent. Furthermore, the fact that the faults are reconstructed, allows the possibility of using the reconstructions to compensate for the fault effects - for instance by directly 'correcting' the output of a faulty sensor. These ideas have been investigated for fault detection (and fault-tolerant control) of a civil aircraft within the context of the GARTEUR Action Group on Fault Tolerant Control FM-AG16 and the EU FP7-funded ADDSAFE project.

In addition to using sliding mode observers for fault detection and isolation, the well-known robustness properties of sliding mode control can be exploited to achieve fault-tolerant control with respect to actuator faults. These robustness properties make sliding mode schemes attractive for applications in the area of aircraft flight control. Recent work has considered sliding mode control in the context of 'control allocation'. In this situation the total control effort is distributed between a set of similar actuators (which constitutes redundancy within the system). The novelty of this work is that the control allocation scheme automatically redistributes the control signal, based on estimates of the effectiveness level of the actuators, which are obtained using sliding mode observers. These ideas have been applied and tested on the El-Al Flight 1862 crash scenario and implemented on the SIMONA flight simulator as part of GARTEUR FM-AG16.


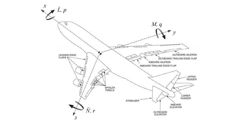
An important engineering application area for theoretical developments in fault detection and fault-tolerant control is aerospace systems. As part of GARTEUR FM-AG16 the sliding mode controllers and observers developed were implement on the six-degree-of freedom motion flight simulator called SIMONA at Delft University of Technology and were evaluated by civilian test pilots. As part of the final open workshop, the sliding mode controllers were 'flown' by KLM pilots, and demonstrated live to the public and industrial representatives. The EU FP7-funded project 'ADDSAFE: Advanced Fault Diagnosis for Safer Flight Guidance and Control' built on the ideas from the GARTEUR AG16 project and sought to undertake a full-scale industrial assessment of the fault detection schemes developed in the project through to implementation on the 'Iron'-Bird' facility in Airbus Toulouse. (The Iron-Bird implementation is the final test in the industrial development cycle of any new system for Airbus aircraft prior to actual flight testing, and represents the most rigorous validation of the FDI scheme possible).
Another application area where these ideas have begun to be exploited is spacecraft/satellite systems. In such an environment where deployment is expensive and high risk, once in orbit, if a fault occurs there is no recourse since it is usually prohibitively expense to undertake a satellite 'capture' and repair mission. Satellite autonomy therefore invariably requires Fault Detection and Isolation (FDI) schemes to detect malfunctions and ideally introduce a fault-tolerant capability. Work funded by the European Space Agency called SATFDI in conjunction with DEIMOS-Space Systems (Spain) and Astrium (France) investigated the application of sliding mode observers for fault detection in a satellite demonstrator project. The object was to demonstrate increased Technology Readiness Levels for sliding mode observers in space applications.

Unmanned Air Vehicles (UAVs) represent another type of aerospace platform requiring fault-tolerant characteristics - motivated more because of the level of autonomy they are required to operate at, rather than from a safety perspective. Often these vehicles tend to be built from cheap, commercial-off-the-shelf (COTS) components, and the challenge is to create reliable systems from less reliable components. These systems provide relatively inexpensive and safe implementation platforms to test state-of-the-art FTC scheme. Another driver for significantly increased levels of fault tolerance for UAVs comes from the recent European initiative SESAR, which aims to integrate unmanned air vehicles with civilian traffic over European airspace as part of an effort to modernise the European air traffic management system. As a consequence, higher levels of reliability for the UAVs are necessary because these vehicles cannot rely on humans-in-the-loop to recover from 'upset' conditions and are not able to benefit from the skills of highly trained pilots to cope with emergency situations.

A collaboration with the Centre for Nano-science and Quantum Information at Bristol University aims to develop nano-precision positioning devices for atomic force microscopes. This is seen as an emerging application area in the control systems community. In this project, sliding mode observers will be used as 'disturbance observers' to integrate within the control loops to improve accuracy and to allow faster scanning rates. Based on measurements of the oscillating cantilever tip, observers will also provide information which is unmeasurable, but which is fundamental to improving the estimate of the surface topography of the specimen under study. The objective is to create a non-contact transverse dynamic atomic force microscope, capable of observing biological processes in-situ and at high speed.

This approach forces the closed-loop system trajectories to evolve along a surface in the state-space by means of discontinuous control strategy. The closed-loop system performance is specified by appropriate surface selection, and robustness is ensured via a control law which forces the states to remain on the surface. Theoretically, sliding mode controllers are able to completely reject the effect of a class of uncertainties known as 'matched uncertainties'. This robustness has stimulated research in this area for over two decades. Historically, the theoretical development of sliding mode control ideas took place under the assumption that all the states of the system were available for use in the control law. From an engineering perspective, however, this assumption is untenable and the development of sliding mode theory for the situation where only measurement information is available has been an underpinning theme of our research work for the last decade.

This is a topical area within the field of control systems, importantly, many of the control and estimation problems which are currently emerging from technological advancements in other fields of science ranging from studies of internet protocols, cellular phone networks, biological networks, cooperative and coordinated control of multiple agents and energy distribution networks, require understanding of this class of systems and the development of distributed controllers and estimators.

In recent years, we have been developing specialised simulation- and optimisation-based analysis tools for tuning and validation of complex control systems. It is well known that the vast majority of the budget for any prototype design is spent in this activity. We are particularly interested in assessing the robust performance of complex realistic, industrial-standard controllers for different prototypes, mainly in the area of aerospace applications, with large numbers of uncertainties, either epistemic or aleoteric, associated with the representative model. It is imperative for the clearance of a design, to have certain identified variables - normally the control signals and variables associated with system safety in the presence of hundreds of uncertain parameters - respect certain a-priori defined limits all the time to ensure the satisfactory safe operation and thus success of the mission.
At Exeter, we develop analysis tools (Worst Case Analysis Tools: WCAT - II) to address this crucial problem, which relies on a suite of single- and multi-objective optimisation algorithms and polynomial chaos surrogate modelling. The applications/missions that we have been investigating include flight control, attitude control of satellites (for Earth observation), control laws for the European reusable launch vehicle (RLV), integrated guidance, navigation and control (GNC) of autonomous rendezvous in Mars Sample Return (MSR), and GNC of Entry, Descent and Landing Systems (EAGLE). To respect and protect the legacy controllers and models from industry, the proposed tools treat them as 'black-box' with access limited to certain input and output variables.
We are also interested in tuning the legacy controllers of a mission efficiently to suit a related but different mission, such that multiple desired objects are robustly met, and the solution is obtained in a cost-effective manner.

People
Academic collaborators
- Prof. Guido Herrman (University of Manchester)
- Prof. Mervyn Miles (University of Bristol)
- Dr Andres Marcos (Universidad Carlos III de Madrid)
- Prof. Debasish Ghose (IISc Bangalore, India)
- Dr. Alexandre Seuret (CNRS, Toulouse, France)
- Prof. Dr. Ir. J.A. (Bob) Mulder (Delft University of Technology)
- Ir. Olaf Stroosma (Delft University of Technology)
- Prof. Yuri Shtessel (University of Alabama, Huntsville, Al, USA)
- Prof. Argyris Zolotas (Cranfield University)
- Dr. Ir. Thomas Lombaerts (Stinger Ghaffarian Tech., NASA Ames Research Center)
- Ir. Hafid Smaili (NLR, Netherlands)
- Prof. Masayuki Sato (Kyushu Institute of Technology (KyuTech))
Research projects
A High Altitude Long Endurance Unmanned Aerial Vehicle (HALE UAV) is an autonomous aircraft that can fly for a long duration at high altitude, without maintenance, user intervention, refuelling or landing. This allows a HALE to function like a satellite, but at a fraction of the cost to launch and operate. Applications include communications, remote sensing, surveillance and disaster support. However, flying at high altitude provides unique challenges as this is not a regime typically used by other aircraft. The aim of the project was to design an efficient and reliable flight control that maintains the HALE at the lowest power consumption at all time at very high altitude. The project was funded by The Royal Academy of Engineering Industrial Fellowship hosted by Prismatic Ltd, the leading expert in the design, manufacture and delivery of HALE UAVs, and a Knowledge Transfer Partnership (KTP).

The EPSRC funded project CRUISE (fault tolerant Control for highly Redundant multirotor Unmanned aerIal vehicle using Sliding modEs) aims are: (1) to help improve safety, resilience and survivability of small multirotor unmanned aerial vehicles in the event of in-flight faults and failures, and (2) to bridge the gap between the theory and application of sliding mode control, thus encouraging adoption of sliding mode control in industry, particularly aerospace. Flight control systems are developed for a small, highly redundant multirotor UAV for commercial and civil applications. A resilient control system, typically known as fault tolerant control, was built based on sliding mode control schemes. Recent work in this area includes the development of flight control systems for unique UAVs such as spherical UAVs and hybrid quad-planes (which employ both vertical rotors for take-off and landing and conventional control surfaces for cruise flight).
Selected publications:
- A. Khattab, H. Alwi and C. Edwards, Fault Tolerant Control of Spherical UAV, SYSTOL 2019.
- A. Khattab, H. Alwi, C. Edwards C, Implementation of Sliding Mode Fault Tolerant Control on the IRIS + Quadrotor, IEEE Conference on Control Technology and Applications, CCTA, 2018.
- C. Edwards, L. Chen, A. Khattab, H. Alwi, M. Sato, Flight Evaluations of Sliding Mode Fault Tolerant Controllers, IEEE International Workshop on Variable Structure Systems, 2018.

The Blended Wing Body (BWB) aircraft is a candidate for revolutionising the aviation industry, holding several advantages over the conventional aircraft used in industry including increased fuel efficiency and increased payload capacity. The proposed research aim to develop a fault tolerant control system for the BWB, such a system would be vital for the safe operation of the aircraft. The proposed flight control scheme exploits the unique configuration and redundant control surfaces available on BWB. Recent work includes constraint fault tolerant control taking into account the physical limits (such as saturation) of the control surfaces. The project is funded by the University of Exeter Vice-Chancellor’s Scholarship for Postgraduate Research for Mr Liam Vile.
Selected publications:
- L. Vile, H. Alwi, C. Edwards, Robust fault tolerant control allocation for a modern over‐actuated commercial aircraft, IET Control Theory & Applications 15 (2), 307-322, 2021.
- L. Vile, H. Alwi, C. Edwards, Model Reference Sliding Mode Fault Tolerant Control of a BWB Aircraft, 59th IEEE Conference on Decision and Control (CDC), 2708-2713, 2020.
- L. Vile, H. Alwi, C. Edwards, Sliding mode fault tolerant control allocation with saturation avoidance for a blended wing body aircraft, IEEE 58th Conference on Decision and Control (CDC), 4958-4963, 2019.
The VISION project is an EU/NEDO Japan co-founded project aimed to increase the TRLs of some of the earlier EU funded work by flight testing fault detection schemes and fault tolerant controllers on JAXA’s MuPAL-alpha fly-by-wire experimental aircraft. Piloted flight test of a number of Exeter designed fault detection and fault tolerant control schemes have recently been successfully undertaken – which is a world-first.
Selected publications:
- L Chen, C Edwards, H Alwi, M Sato, ’Flight evaluation of a sliding mode online control allocation scheme for fault tolerant control’, Automatica, 114, 108829, 2020.
- M. Sato, G. Hardier, G. Ferreres, C. Edwards, H. Alwi, L. Chen, A. Marcos, ‘Fault Tolerance: Background and Recent Trends’, Journal of The Society of Instrument and Control Engineers 57 (4), 279-286, 2018
The EU-FP7 project RECONFIGURE aims to develop fault detection and fault-tolerant control techniques that facilitate automated handling and help alleviate the pilot's workload during so-called off nominal/abnormal events, and optimize the aircraft's status and flight. This must be performed while maintaining current aircraft safety levels.
Selected publications:
- L Chen, H Alwi, C Edwards, ’On the synthesis of an integrated active LPV FTC scheme using sliding modes’, Automatica 110, 108536, 2019.
- L. Chen, C. Edwards, H. Alwi, ‘Sensor Fault Estimation Using LPV Sliding Mode Observers with Erroneous Scheduling Parameters’, Automatica, 101, 66-77, 2019.
- L. Chen, H. Alwi, C. Edwards, ‘Development and Evaluation of an Integral Sliding Mode Fault Tolerant Control Scheme on the RECONFIGURE Benchmark, International Journal International Journal of Robust and Nonlinear Control, 29 (16), 5314-5340, 2019.
- L. Chen, C. Edwards, H. Alwi, ‘Integral sliding mode fault-tolerant control allocation for a class of affine nonlinear system’, International Journal of Robust and Nonlinear Control 29 (3), 565-582, 2019.
- L. Chen, C. Edwards, H. Alwi, ‘Sensor redundancy based FDI using LPV sliding mode observer, IET Control Theory & Applications, 12 (14), 1956-1963, 2018.

ADDSAFE comprises a consortium of European industrial partners, research establishments and universities to address the challenge of the future 'sustainable' aircraft which are cleaner, quieter, smarter and more affordable. The overall aim of the project, termed, is to contribute to the aircraft's structural design and performance optimization thanks to advanced Fault Detection and Diagnosis (FDD) in the Flight Control System (FCS). More precisely, it can be demonstrated that improving the fault diagnosis performance in FCS allows optimization of the aircraft's structural design (resulting in weight saving), which in turn helps to improve aircraft performance and to decrease its environmental footprint (i.e., fuel consumption and noise).
Selected publications:
- H. Alwi and C. Edwards. Development and Application of Sliding Mode LPV Fault Reconstruction Schemes for the ADDSAFE Benchmark. ADDSAFE special issue for Control Engineering Practice, DOI: 10.1016/j.conengprac.2014.05.003, 2014.
- H. Alwi and C. Edwards. Second Order Sliding Mode Observers for the ADDSAFE Actuator Benchmark Problem. Control Engineering Practice, DOI: 10.1016/j.conengprac.2013.09.014i, 2013.
- H. Alwi and C. Edwards. Robust Fault Reconstruction for Linear Parameter Varying Systems Using Sliding Mode Observers. International Journal of Robust and Nonlinear Control, DOI: 10.1002/rnc.3009, 2013.
- H. Alwi, C. Edwards, An Adaptive Sliding Mode Differentiator for Actuator Oscillatory Failure Case Reconstruction. Automatica, Vol. 49(2):642-651, 2013.

The objective of the AG16 project was to conduct and coordinate research activity in Europe for developing fault-tolerant control (FTC) techniques with application to aircraft, which includes fault detection and diagnosis (FDD) and reconfigurable flight control in the presence of malfunctions in actuators, control surfaces and sensors. Specifically, the action group will address the integration of new, advanced methods for fault detection and diagnosis together with schemes for control system reconfiguration applied to a representative, nonlinear Matlab/Simulink aircraft benchmark model, the techniques will also be evaluated/assessed in a flight simulator at Delft University of Technology.
Selected publications:
- Edwards, T., J.J. Lombaerts, M.H. Smaili, Fault Tolerant Flight Control – A Benchmark Challenge. Springer Verlag, 501-517, 2010.
- H. Alwi, C. Edwards and C.P. Tan. Fault Detection and Fault Tolerant Control Using Sliding Modes. Springer Verlag, 2011.
- H. Alwi, C. Edwards, O. Stroosma and J.A. Mulder. Evaluation of a Sliding Mode Fault-Tolerant Controller for the El Al Incident, AIAA journal of Guidance Control and Dynamics, Vol. 33(3):677-694, 2010.
- H. Alwi, C. Edwards, O. Stroosma and J.A. Mulder. Fault Tolerant Sliding Mode Control Design with Piloted Simulator Evaluation, AIAA journal of Guidance Control and Dynamics, 31(5):1186-1201, 2008.
- H. Alwi and C. Edwards. Fault Tolerant Control Using Sliding Modes with On-line Control Allocation. Automatica, Vol. 44(7):1859-1866, 2008.

Observing the dynamic behaviour and interactions of single bio-molecules is a long-standing goal to facilitate biomedical research. Standard practice is to use one of several types of scanning probe microscopes (SPMs) - principally atomic force microscopy (AFM). The principle of an AFM is simple: a horizontally-oriented cantilever with a very sharp tip is moved across the object of interest, allowing the capture of a three-dimensional topographical image. A significant challenge to imaging bio-molecular interactions is that the forces typically present between the probe and the sample disturb or even damage the bio-molecules.
To counter these issues, we will combine the latest advances in control theory with the novel SPM instrumentation, currently in development in Bristol, to produce a new scanning probe microscope capable of imaging these fragile samples without damaging them. The challenges will be to achieve practical control at bandwidths above 1MHz and to understand and exploit the nonlinear dynamics for better data interpretation. The resulting instrument will be a true non-contact imaging device capable of comparable spatial resolution and lower interaction forces than AFMs, and will display pico-Newton force-sensitivity providing a wealth of information from direct observation of the interacting bio-molecules.
Selected publications:
- K Zhang, T Hatano, T Nguyen, C Edwards, G Herrmann, S Burgess, M Miles, ’A super-twisting observer for atomic-force reconstruction in a probe microscope’, Control Engineering Practice 94, 104191, 2020.
- K. Zhang, , G. Herrmann, C. Edwards, M. Antognozzi, T. Hatano, T.T. Nguyen, S.C. Burgess and M. Miles, ‘A Multi-mode Transverse Dynamic Force Microscope - Design, Identification and Control’, IEEE Transactions on Industrial Electronics, 67 (6), 4729-4740, 2019.
- T. Nguyen, S.G. Khan, T. Hatano, Z. Zhang, C. Edwards, G. Herrmann, R. Harniman, S.C. Burgess, M. Antognozzi, M. Miles, ‘Real-Time Sliding Mode Observer Scheme for Shear Force Estimation in a Transverse Dynamic Force Microscope’, Asian Journal of Control, 20 (4), 1317-1328, 2018.
- G. De Silva, S.C. Burgess, T. Hatano, S.G. Khan, K. Zhang, T. Nguyen, G. Herrmann, C. Edwards, M. Miles, ‘Optimisation of a nano-positioning stage for a Transverse Dynamic Force Microscope’, Journal Precision Engineering, 50, pp 183-197, 2017.
This project funded by the European Space Agency in conjunction with DEIMOS-Space Systems (Spain) and Astrium (France) investigated the application of sliding mode observers for fault detection in a satellite demonstrator project. The objective here was to demonstrate increased Technology Readiness Levels for sliding mode observer-based fault detection schemes for space applications.
Selected publications:
- Marcos, H. Alwi, C. Edwards, A. Falcoz and E. Bornschlegl. Verification & Validation of a Satellite Fault Detection and Isolation Scheme Based on Sliding-Mode Observers, IFAC Symposium on Fault Detection and Safety of Technical Process, 2012.
- H. Alwi, C. Edwards and A. Marcos, FDI for a Mars Orbiting Satellite Based on a Sliding Mode Observer Scheme, Conference on Control and Fault Tolerant systems (SysTol’10), 2010.
In response to the ACARE 2020 (Advisory Council for Aeronautics Research in Europe) target of a 50% reduction in emissions by the year 2020, aircraft manufacturers are looking to develop technology to lower in-flight drag, thereby increasing fuel efficiency. In collaboration with the University of Warwick, Queen's University Belfast and Sheffield University, the 'Active Aircraft' project developed novel nonlinear estimation schemes, which are underpinned by rigorous theory, but which are practical enough to be implemented on-line for drag estimation and fault-tolerant flow control.
Selected publication:
- J.M. Andrade Da Silva, Halim Alwi, Christopher Edwards, Sliding Mode Based On-Line Drag Estimation of a Simulated Aircraft Over a Wireless Network, 20th Mediterranean Conference on Control and Automation, 2012.


